Reparatur- und Designprodukt als Schließblech für gefalzte und stumpf einschlagende Innentüren, ausgestattet mit Einsteckschlössern nach DIN 18251. Die Verwendung an Wohnungsabschlusstüren sollte nur dann erfolgen, wenn sich das Originalschließblech in einem einwandfrei eingebauten Zustand befindet. Unser Design-Klammerschließblech kann für diese Einbausituation nur als Designobjekt eingesetzt werden.
· Erspart dem Anwender den Austausch von beschädigten Türzargen.
So wird Müll vermieden und die Umwelt geschont.
· Überdeckt entstandene Schäden auf der Zimmertürzarge im Bereich des
Schließblechs.
· Schützt eine unbeschädigte Zarge vor zukünftigen Einwirkungen.
· Verbindung mit der Zarge ausschließlich durch Klebefilm (Silikon etc.)
· DIN rechts/links verwendbar.
· Aus Edelstahl gefertigt, mit geschliffener Oberfläche. (Korn 240)
· Hergestellt in Deutschland.
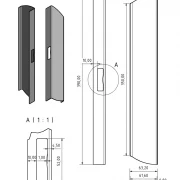
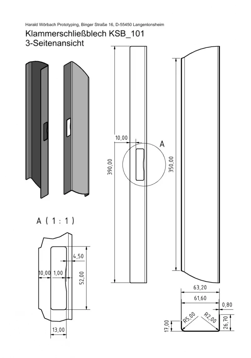
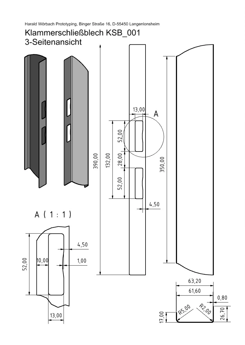
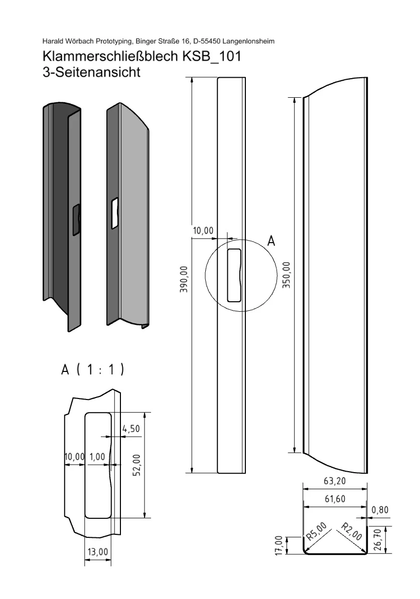
Beschreibung
Unser Design-Klammerschließblech ist die beste Lösung, um entstandene Beschädigungen an gefalzten Türzargen aus Holz und Holzwerkstoffen zu verdecken. Schäden die durch Überlastung im Bereich des Schließblechs entstanden sind, lassen sich durch das Design-Klammerschließblech einfach überdecken. Dieses besteht aus Edelstahl und wird in unserem Betrieb durch eine Laserschneideanlage geschnitten, danach konventionell gebogen und verschliffen. Es lässt sich universell auf DIN rechten sowie DIN linken Türzargen anbringen. Im Vorfeld der Markteinführung unseres Design-Klammerschließblechs wurden Versuche zur Widerstandsfähigkeit gegen Ablösung von der Zarge durch Gewalteinwirkung durchgeführt. Die punktförmige Verklebung des Design-Klammerschließblechs erwies sich als hoch belastbar und sollte entsprechend der Montageanleitung ausgeführt werden. Die Innenseiten der beiden Flanken zum Falz hin und zur äußeren Kante der Zarge sind grundsätzlich mit unserer Micro-Profil-Textur versehen. Diese sorgt für eine gute Haftung des Design-Klammerschließblechs während der Montage bis zur Verfestigung des Montageklebers.